


Our firm celebrated its Centennial in 2017. We practice exclusively in the area of intellectual property law, which encompasses patents, trademarks, copyrights, trade secrets and related business and litigation issues. For over 100 years, we have represented diverse clients, including Fortune 500 companies and individual entrepreneurs.
Renner Kenner has obtained thousands of patents over the years for our clients. The "This Week in Our History...” section below is an example of a patent that was written and/or prosecuted by Renner Kenner.
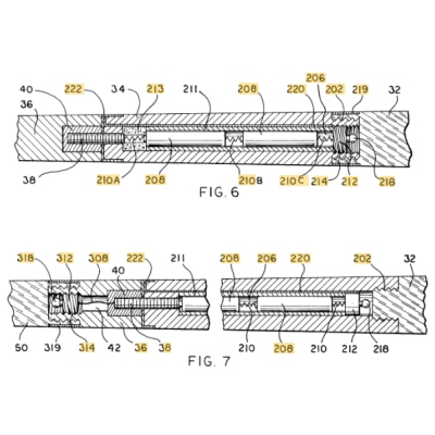
The U.S. Patent and Trademark Office issued U.S. Patent No. 6,165,078 on December 26, 2000 entitled “Illuminated Pool Cue” for a pool cue with a light source in the shaft and a transparent section adjacent to the light source. When the light source is illuminated, the light shines through the transparent section, illuminating the pool cue.

Renner Kenner proudly supports Wishes Can Happen in Canton, Ohio. Wishes Can Happen, Inc. is a nonprofit, entirely donor supported, organization comprised of an all-volunteer board of trustees. Wishes Can Happen grants wishes to children ages 3 to 21 in Ohio who have been determined by a physician to have life threatening illnesses. Wishes Can Happen strives to put a smile on the face of the children they grant wishes to and to create a happy memory for their family. The average wish cost is about $6,500.
Learn more at https://wishescanhappen.org/